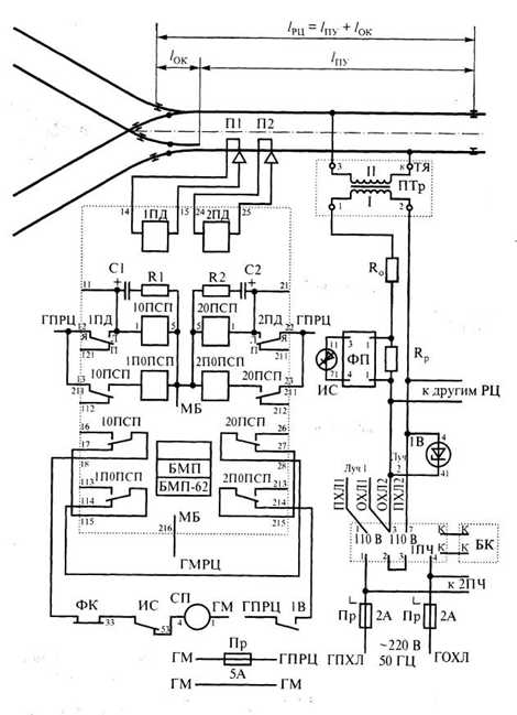
При наличии на участке подвижной единицы реле ИС будет

Изображение к вопросу
Нажмите, чтобы увеличить
В зависмости от места нахождения отцепа будет под током или без тока
Без тока
Под током
Найти другие ответы на вопросы

Связанные темы

Темы, в которых встречается данный вопрос: