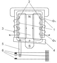
Конструкция какого реле изображена на рисунке

Изображение к вопросу
Нажмите, чтобы увеличить
Комбинированное
Импульсное
Нейтральное
Найти другие ответы на вопросы

Другие варианты верных ответов

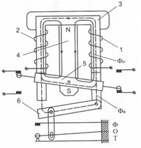
Изображение к вопросу
Нажмите, чтобы увеличить
Поляризованное
Изображение к вопросу
Нажмите, чтобы увеличить
Импульсное
Изображение к вопросу
Нажмите, чтобы увеличить
Комбинированное
Изображение к вопросу
Нажмите, чтобы увеличить
Двухэлементное реле
Изображение к вопросу
Нажмите, чтобы увеличить
Поляризованное
Изображение к вопросу
Нажмите, чтобы увеличить
Комбинированного
Изображение к вопросу
Нажмите, чтобы увеличить
Двухэлементное реле

Связанные темы

Темы, в которых встречается данный вопрос: